其测量点、控制点多、工艺过程复杂,要求能够对整个生产过程进行适时、准确、有效的监视及控制。因此一套能够检测装置的异常情况,并对可能发生的潜在危害作出相应动作以保护设备、 防止事故扩大化的安全仪表系统是必不可少的。
紧急切断装置在石油化工工艺过程中主要就是紧急切断阀,可以在遇到突发危及到人员安全,装置或设备安全运行,造成严重的环境污染时紧急切断阀能快速响应,继而避免事故发生或者危险扩大。本文就安全联锁中紧急切断阀应用难点及设计方案进行探讨,帮助仪表及设计人员对紧急切断阀的理解和应用。
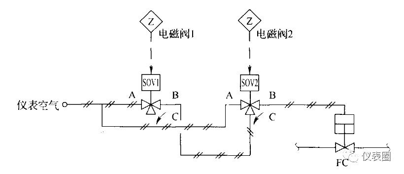
紧急切断阀主要的组成部分有:执行机构(分电动和气动),电磁阀(气动阀),阀体以及其他附件。下面为常规气动切断阀门简配图:

在石油化工工艺过程中,要求紧急切断和隔离的场所无处不在。例如:切断反应进料,切断加热炉燃料;高低压紧急隔离;紧急切断汽轮机蒸汽;泵设火灾隔离等等。
石油化工工程中常用的自控紧急切断阀按照阀体类型一般分为三种:闸阀、球阀、蝶阀。也有个别工艺包或者业主要求用GLOBE阀门作为切断阀。
闸阀一般应用在口径较大的场所(DN250及以上),相对球阀来说比较低廉。闸阀的主要缺点是:阀体笨重且安装尺寸较大,填料密封性能不好,阀体也容易卡住。

球阀主要应用口径较小的场所,开云 开云体育官网考虑到因素,口径一般不易大于DN200。介质温度较低时可选用非金属密封阀座环,介质温度较高时应选用金属密封阀座环。

切断蝶阀一般选用三偏心结构,蝶阀具有转动力矩大、密封和关断性能好、重量轻、结构尺寸小以及造价便宜等特点。由于蝶板一直在流道中,其流通能力低于闸阀和球阀,尤其高压蝶阀,阀板较厚,造成流通能力更小。

紧急切断阀门采用严密关断型(TSO)。一般对于金属硬密封的隔离阀,泄漏等级一般要求ANSI CLASS V以上;对于非金属软密封的切断阀,泄漏等级一般要求为ANSI CLASS VI,并尽量满足上下游双向密封的要求。
一般应该遵守API598的内漏要求。如果采用ISO5208等级要求,要求B或C级。

启闭件与阀座间的吻合面:此处的泄漏叫内漏,它直接影响阀门截断介质的能力和设备的正常运行。
填料与阀杆和填料函的配合、阀体与阀盖的连接处:此处的泄漏叫外漏,即介质从阀内泄漏到阀外,它直接影响安全生产。造成工作介质损失和企业经济损失、环境污染,严重时会造成生产事故。
1.美国国家标准/流体控制组织ANSI/FCI70-2《控制阀阀座泄漏》最新为2013版;
2. 国际电工委员会IEC 60534-4《工业过程控制阀-检验和例行试验》最新为2006版,其他部分章节2015版;
4.美国阀门及配件工业制造商标准化协会MSS SP-61《钢制阀门的压力试验》最新为2019版;
5.国际标准化组织ISO5208《工业阀门-金属阀门的压力试验》最新为2015版;
6.欧洲标准EN12266-1/2《工业阀门阀门的试验》-压力试验、试验方法和验收标准 最新为2012;
1.ISO10497《阀门试验-阀门的耐火试验要求》最新为2010版本;
2.API607-2005《转1/4周阀门和非金属阀座阀门的耐火试验》最新为2016版本;
普通外漏:API598《阀门的检查和试验》;是美标阀门最常用的检验和压力试验标准;该标准对上密封试验的要求是:在规定的压力下,不允许有目视可见泄漏。

低泄漏阀门是指阀门实际泄漏量很小,靠常规的水压、气压密封试验已不能判定,需要借助更加先进的手段和仪器来检测的微小外泄漏。阀门的这种微小的对外界环境的泄漏称为低泄漏或逸散性。
1.国际标准化组织ISO15848-1《工业阀门:漏气的测量、试验及鉴定程序》第一部分 阀门的分类体系和型式试验鉴定程序;
2.国际标准化组织ISO15848-2《《工业阀门:漏气的测量、试验及鉴定程序》第二部分 阀门产品验收试验;该标准用以鉴定通ISO15848-1形式试验的阀门产品;
4.壳牌石油公司SHELL MESC SPE77/312《工业阀门:低泄漏测量、分级系统、资格认定程序及开关阀和控制阀的型式认可和产品试验》。对ISO15848-2的补充;
性能等级分为:温度等级、耐久等级、密封等级三项。出厂标记:ISO FE 例如:


开关阀:机械循环是将阀门从全开至全闭为一次循环,一次热循环是从室温至规定实验温度再返回室温。2015版将CO1由500次为205次。
控制阀:机械循环是50%的阀门行程或者转角。在室温或是在室温至选定温度下分步进行。

出厂密封性合格检验,试验采用随机抽检的方式,抽检的数量最少应为同种类型(包括同一PN和DN)的同批阀门的3%,机械循环试验5次。介质:6Bar 97%的氦气;2015版将C级由1000PPMV改为200PPM,采用ISO15848-1 附录B检测法,采用探头/嗅探法(0.5~1.5L/min),测量步骤同EPA Method21,单位为ppm。国标要求检测试验合格后,铭牌上应标记“FE”。

EBV(紧急切断阀)的主要作用就是当发现有毒或可燃介质泄漏或者发生火灾时,通过该阀门手动或自动将泄漏源与上(下)游设备隔离,防止灾情进一步蔓延。
1.对于所有动力为200马力或更大的压缩机或处理易燃或有毒物质,通常要求配备EBV;
3.如果级间设备的液体量大于3.8立方米(1000加仑),则级间和级间设备之间需要安装EBV。
1.对于具有密封装置的泵,如果上游容器包含超过7.6 m3(2000加仑)的轻组份或烃类物质超过自燃点或超过316°C (600°F),通常需要EBV;
2.如果上游容器中含有超过15立方米(4000加仑)的液态烃,则需要安装EBV;
3.高排放压力的泵在其出口(即泵溢流下游)处应有EBV,用于反流超压保护。
1.对于含有轻组份或有毒物质的容器,需要EBV。从这些容器流出的流体应该与潜在的泄漏源隔离,如泵、压缩机、换热器和明火设备。任何EBV与容器之间的连接分支都应有自己的EBV;
1.每条供加热炉和锅炉的燃气或燃油管线都需要安装EBV。一般情况下,至少在每个燃料气或燃料油管线的界线外有一个手动隔离阀;
2.手动EBV阀门经常与自动化SIS阀门一起使用[见9.6 b部分]。在跳车后重开SIS阀门,需要在所有安全联锁参数都满足后手动复位。另请参阅API556《燃气加热炉仪表、控制和保护系统》第二版;
3.每条工艺进料管线都需要安装EBV,工艺管线内含有易燃液体的燃烧加热炉。EBV应位于加热炉的防火墙或防火区外。


EBV阀与普通切断阀相比最大的区别就是防火设计。在火灾发生时,采用EBV阀将着火点与可燃物储存设备隔离。由于平面布置的限制,EBV阀往往处在火灾危险区域。为此,需要该阀在火灾发生情况下,在一定时间(一般不低于30分钟)内仍可以严密隔离,以达到减小火灾的目的。能否在这段时间内依然保证严密隔离效果就成为紧急隔离设计的关键。为此,此类阀门应具备以下三点性能:
内部泄漏量最小。为了保证这一性能,首先应考虑到阀芯和阀座的金属面接触,在着火时或着火后,阀体处于高温之中,不管其密封结构如何,弹簧力和外加压力怎样变化,都应Kaiyun 开云该保证这一点,应认为这是保证其精密关闭的关键。EBV优先选择本质火灾安全型阀门-金属硬密封阀,且阀座尽量为双向密封。
外部泄漏量最小。为了尽量减小外部泄漏,考虑的方法有:采用能防火的阀杆密封材料(用石墨或金属垫片),避免用较大的垫片式阀体连结。
有连续的操作性。燃烧后仍能正常工作的阀门,应具有抗变形的能力,有抗损性。
注:选择燃烧持续时间为30分钟,是因为这相当于扑灭大多数炼油厂火灾所有需要的最长时间。持续时间更长的火情视为大火,比本试验预料的后果更为严重。(摘自API607-93)
另外EBV是否在火灾区域的界定,不考虑受其他泄漏源的影响。如果考虑泄漏或火灾的叠加,那么石化行业内的主装置区内的所有控制阀均应考虑防火。显然目前不是这么做的。
05年的是第5版也是针对转¼周软座阀门的耐火试验,但是测试的工况严格些,要求的指标较多,较严格一些;第5版有两版,一个为05年,一个为08年修订;
10年的是第6版升级到针对转¼周阀门和非金属阀座阀门,指标基本上和05一样;
API 6FA主要针对API 6A(井口采油树阀,6D(管线阀门-闸、截、止、球等);
石油化工工程中常用的执行机构按照驱动动力一般分为三种:气动、电动、电液。

气动执行一般应用在大部分石化装置中,具有输出力矩大,安全,开启速度快,可以做到FC或FO(故障安全型)等优点,缺点是需要有净化风。可分为薄膜式、活塞式、拨叉式和齿轮齿条式。还可以分为单作用和双作用两种类型,其中双作用执行机构需增配事故空气罐。由于可以做到事故安全型,常常被优先选用。

电动执行机构一般应用在石化储运系统中。优点是体积小,输出力矩较大时造价较低,另外不需要净化风。适用于公用工程条件不完善的场所,缺点是开启速度较慢且做不到故障开或故障关。电动执行机构有二种类型,一般分为部分回转电动执行机构和多回转电动执行机构,前者主要控制需要部分回转的阀门例如:球阀,蝶阀等角行程阀门,后者需要多圈数旋转的阀门,例如闸阀等直行程。

电液执行机构是近年来新兴起来的一种执行机构,具有输出力矩大,开启速度快,甚至可以做到火灾关阀等特点。缺点是需要配动力油系统较为繁琐,所占空间也往往比较大,易漏油等。
执行机构耐火考虑:用于防火隔离场所时,除阀体需要耐火设计外,其执行机构也需要设计成火灾安全型或耐火型(或叫防火型)。
火灾安全型执行机构在正常工况下可以远程控制,但在火灾发生时,如果该阀处于火灾区,其执行机构可能会被损坏,开云 开云体育官网这类执行机构通常采用弹簧复位型。具体做法有:连接开阀气源的供风管一般采用耐日照的易熔断线路,绕在执行机构周围。发生火灾时,气路管路熔断切断气源使阀门回到关闭状态。另外一种做法是,在执行机构上加易熔塞,当火灾发生时,易熔塞熔化,气缸失气阀门关闭。易熔塞一般采用耐温135-500°F(57-260℃)间金属制作而成(中石化设计意见建议是250 ℃)。
耐火型执行机构本身就具有耐火性能。一种做法是:执行机构的外壳采用耐火材料或耐火涂料覆盖,该材料在环境温度急剧上升时,体积能急速膨胀,形成对热浪的阻隔。根据UL1709的要求其耐火(1093℃(2000°F))时间不小于30分钟。选用这种执行机构时,阀门配套附件,如电缆、气源供风管线等,均采用耐火型,以到达整体防火设计的要求。


过程工业领域的安全完整性等级应为SIL1~SIL3,石化装置就属过程工业。

SIL等级故障裕度(HFT):GB50770的规定是根据IEC61511中规定的硬件故障裕度演变过来的。
Kaiyun 开云tc.cn/q_70/images03/20210321/b6a91c6e272742e0ba19426d72535017.png />
注意:当产品符合经验使用原则时,HFT可减1。GB50770考虑到了该情况。


本文首发于公众号仪表圈(ID:yibiaoquan)。流程工业经授权发布,转载请联系原公众号授权。
本文首发于公众号仪表圈(ID:yibiaoquan)。流程工业经授权发布,转载请联系原公众号授权。
十四五开篇,“三桶油”与国际石化百强齐聚上海,石化供应链峰会5月即将开启!
一周要闻速递|新凤鸣总180亿元270万吨聚酯项目产业基地揭牌,卫星石化与SK建设亚洲首个EAA工厂
曹妃甸产业基地新进展,香港建滔集团200亿元建设PDH、苯酚/丙酮、双酚A等化工项目!